Sensoren, Geräte und Komponenten
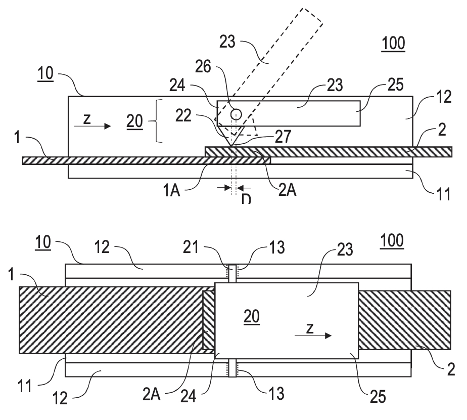
(Differential) Refractive Index Measurement with low Uncertainties and Dimensions using an Asymmetric Nanofluidic Grating Detector
Ref.-Nr.: 0707-5502-BC
Sensoren, Geräte und Komponenten
This invention relates to a novel method for measuring the refractive index n of substances with minimal uncertainties, particularly valuable when the refractive index differences Δn are small (Δn<0.02). The technology utilizes an asymmetric nanofluidic grating detector that facilitates highly sensitive and contactless detection of molecule concentration or process conditions across various applications. The innovation enables direct background subtraction in refractive ...
A graphene diode with bias-induced barrier modulation
Ref.-Nr.: 1201-5155-BC
Sensoren, Geräte und Komponenten
Metal-insulator-metal (MIM) diodes are very promising for application as rectennas for solar energy harvesting, photo-detectors and high frequency mixers. Good MIM diode performance requires a high asymmetry, a strong nonlinearity, a large responsively, as well as a low resistance or a high on-current. These figures of merit are mainly determined by the work function difference of the electrodes, and the barrier height between the insulator and the electrode materials. In the design of MIM diodes, ...
Weiterlesen … A graphene diode with bias-induced barrier modulation
A method and device for reversibly attaching a phase changing metal to an object
Ref.-Nr.: 0104-5132-BC
Sensoren, Geräte und Komponenten
Reversible adhesion can be used to transfer or to manipulate objects. Especially if the objects are small and/or fragile their manipulation become very challenging. Intermolecular forces such as Van-der-Waals can be used to achieve a strong adhesion between the objects. Moreover, surface functionalization and the creation of nano- and microstructures can be used to improve these adhesion properties. Unfortunately, the adhesion becomes insufficient if the surfaces are wet or rough. Another problems ...
Weiterlesen … A method and device for reversibly attaching a phase changing metal to an object
A Tunable Neuronal Network and an Artificial Eye: A Platform for Signal Processing and Retinal Research
Ref.-Nr.: 0105-5290-BC
Sensoren, Geräte und Komponenten
This invention introduces a measurement device that utilizes three-dimensional neuronal tissue, specifically retinal tissue grown from stem cells, to analyze neuronal responses. The tissue mimics human retinal structures and reacts to external stimuli, such as light, by altering its electric potential. A specialized read-out system captures these changes in real-time and three dimensions. The technology enables the creation of customizable, tunable neuronal networks with controlled cell composition ...
Accurate contactless measurement of surface and micro sample temperatures
Ref.-Nr.: 0041-5601-WT
Sensoren, Geräte und Komponenten
Reliable determination of surface temperatures at the microscale is crucial for the study of material behavior under extreme thermal conditions. Conventional measurement setups often rely on sensors placed near heating sources rather than directly at the sample’s surface, resulting in significant inaccuracies caused by thermal gradients. The presented invention introduces a novel hot stage system capable of accurate, contactless temperature measurement of micro-samples and indenter tips at temperatures ...
Weiterlesen … Accurate contactless measurement of surface and micro sample temperatures
Advanced collector sweeping with homogenous power deposition of the electron beam in high-power rf vacuum-tubes
Ref.-Nr.: 1801-3749-WT
Sensoren, Geräte und Komponenten
Fusionstechnologie /-energie
This invention includes two alternative advanced methods to achieve a homogenous collector power distribution, which improves the collector capability of high power vacuum-tubes by a factor of two as compared to conventional methods. Furthermore the applied method has a high flexibility to vary the power distribution over a wide range of profiles and match the deposition profiles to different designs of collectors in existing or future electron tubes.
Advanced magnetic zipper for industrial and consumer applications
Ref.-Nr.: 0705-4974-BC
Sensoren, Geräte und Komponenten
Conventional mechanical zippers find manifold applications for luggage, clothing or even industrial applications. However, their design features significant disadvantages. In particular, they require the use of both hands by the user to align the ends of the garment and lock the insertion pin into the slider. This mechanism can be prone to jamming and failure and more generally requires the user to free his or her hands. The user must further use one or both hands to move the slider along the ...
Weiterlesen … Advanced magnetic zipper for industrial and consumer applications
Advanced Multichannel Coil for Ultra-High Field MRI
Ref.-Nr.: 0107-4677-BC
Bildgebung und Mikroskopie
Sensoren, Geräte und Komponenten
This technology introduces a multichannel radiofrequency (RF) coil setup for ultra-high field (UHF) magnetic resonance imaging (MRI) at ≥7 Tesla. Designed for optimal imaging of the human brain, the system combines a 16-channel dual-row transmit array with a 31-channel receive array. It addresses the challenges of uneven signal distribution (B1+ field inhomogeneities) and enhances signal-to-noise ratio (SNR) through innovative RF shimming and tightly coupled coil configurations. ...
Weiterlesen … Advanced Multichannel Coil for Ultra-High Field MRI
Apparatus and method for creating a holographic ultrasound field in an object
Ref.-Nr.: 0104-5066-BC
Sensoren, Geräte und Komponenten
Ultrasound is being used in many fields ranging from medical imaging and therapy to non-destructive testing, contact-free particle handling or spatially selective heating in industrial settings. Often, those applications require shaping (including focusing) of an ultrasonic field. Compared to existing transducers with fixed lenses or phased array transducers (PATs) the present invention allows much more sophisticated sound fields to be generated using much simpler and cheaper technology.
Weiterlesen … Apparatus and method for creating a holographic ultrasound field in an object
Apparatus for Generating Random Numbers using an Optical Parametric Oscillator
Ref.-Nr.: 1201-5494-BC
Sensoren, Geräte und Komponenten
Photonics
The invention relates to an apparatus for generating random numbers, using an optical parametric oscillator.
The generation of random numbers is important in information science as well as in modelling and simulation. In cryptography, for instance, random numbers are needed for encryption algorithms. Preferably, the generated numbers are true (i.e. non-predictable) and have an equal distribution.
The apparatus according to the invention is based on the bi-stable outcome of an optical ...
Weiterlesen … Apparatus for Generating Random Numbers using an Optical Parametric Oscillator
Artificial Skin: Piezoresistive Laminate Design to Sense Surface Normal Pressure and Lateral Strain
Ref.-Nr.: 0104-6068-GÖ
Sensoren, Geräte und Komponenten
A human-like electronic skin for physical contact handling is an essential component of autonomous systems which still lack tactile sensors that can cover large and curved surfaces of robots. This invention introduces a special piezoresistive laminate design, electrodes arrangement, current injection and voltage measurement strategy and reconstruction process in order to estimate both surface normal contact sensing and lateral strain sensing simultaneously. We offer a tactile sensor that can measure ...
Barodome: Arrangement of Barometric Sensors and Machine Learning Based Force Inference Method
Ref.-Nr.: 0104-5882-GÖ
IT / Software / Bioinformatik
Sensoren, Geräte und Komponenten
When developing applications such as robots, sensing of forces applied on a robot hand or another part of a robot such as a leg or a manipulation device is crucial in giving robots increased capabilities to move around and manipulate objects. We offer a complete low-cost sensor solution with the sensor arrangement, production method, the neural network and its training method.
Bildleiter
Ref.-Nr.: 1801-6386-WT
Sensoren, Geräte und Komponenten
Fusionstechnologie /-energie
Die Erfindung betrifft einen Bildleiter, der insbesondere für den Einsatz in einer Umgebung mit radioaktiver Strahlung geeignet ist. In einer solchen Umgebung verringert sich die Transmission des Bildleiters mit der Zeit. Bekannterweise kann die Transmission des Bildleiters durch Erwärmen auf eine Temperatur im Bereich von 100° bis 300° regeneriert werden. Weil dieses Erwärmen bisher in einem Ofen erfolgte, implizierte das Regenerieren des Bildleiters seinen Abbau von seinem Betriebsort, ...
BLE-based micro-transmitter and monitoring app
Ref.-Nr.: 0707-5558-MG
Sensoren, Geräte und Komponenten : Geräte
A lightweighted, long-life, long-range and low-cost Bluetooth Low Energy (BLE)-based tracking system with monitoring app.
Weiterlesen … BLE-based micro-transmitter and monitoring app
Catcher for stabilization of high-viscosity extrusion jets
Ref.-Nr.: 0105-6614-BC
Sensoren, Geräte und Komponenten
The offered invention relates to a device that reduces free-jet instabilities inherent to high-viscosity extrusion injection, facilitating delivery of protein microcrystals for serial diffraction X-ray crystallography.
Weiterlesen … Catcher for stabilization of high-viscosity extrusion jets
Cavity-Enhanced Laser Heating of Reflective Samples under Ultra-High Vacuum
Ref.-Nr.: 0707-6882-BC
Sensoren, Geräte und Komponenten
Photonics
This innovative cavity-enhanced laser heating (CELAH) system delivers unparalleled efficiency for reflective samples in ultra-high vacuum (UHV) environments. Unlike traditional methods, such as resistive or electron bombardment techniques, this technology employs a laser-based system compatible with a wide range of wavelengths and materials, from highly reflective materials to semiconductors. At its core is a hemispherical optical cavity created by a polished concave reflector and the sample, ...
Weiterlesen … Cavity-Enhanced Laser Heating of Reflective Samples under Ultra-High Vacuum
Conductor Device for Superconducting Applications
Ref.-Nr.: 0206-6425-BC
Sensoren, Geräte und Komponenten
The conductor device is designed for low-temperature, particularly superconducting applications, featuring multiple superconducting wires arranged along the length of the device and encapsulated in an electrically insulating material. The device's design includes self-supporting wire sections between longitudinal end sections, facilitating stable and efficient connections in superconducting environments. This technology is suitable for applications requiring high-precision signal processing ...
Weiterlesen … Conductor Device for Superconducting Applications
Connector for Electrically Connecting Conductors in a Super-conducting Condition
Ref.-Nr.: 0206-6680-BC
Sensoren, Geräte und Komponenten
The connector apparatus incorporates a unique design that allows two or more conductor devices to contact directly, ensuring zero-resistance connections under superconducting conditions. This is facilitated by a pivoting pressing clamp mechanism, which when engaged, applies precise contact pressure to overlapping conductor sections housed within a specially designed connector receptacle. This innovative configuration is critical for applications requiring minimal electrical resistance and high ...
Weiterlesen … Connector for Electrically Connecting Conductors in a Super-conducting Condition
Display Engines and Systems Using Photonic Integrated Circuit Chips with Integrated Actuators
Ref.-Nr.: 1401-6423-WT
Sensoren, Geräte und Komponenten
This invention presents an innovative display engine for laser-scanning head-mounted displays, utilizing photonic integrated circuit (PIC) chips with integrated actuators. The system generates multiple intensity-modulated laser beams that are scanned across a user's field of view via actuators embedded in the chip, an off-chip scanning mirror, or a hybrid of both. The output couplers on the PIC chip emit the beams, which are then expanded and directed toward the eye through an optical combiner ...
DISPLAY IN CONDITIONS OF BRIGHT AMBIENT LIGHT
Ref.-Nr.: 1305-5612-WT
Bildgebung und Mikroskopie
Sensoren, Geräte und Komponenten
Electron beam apparatus and method for generating a pulsed electron beam and application thereof
Ref.-Nr.: 0707-6454-BC
Sensoren, Geräte und Komponenten
The present invention relates to an electron beam apparatus and a method for generating a pulsed electron beam, comprising a sequence of electron pulses. This technology involves creating a sequence of emitter excitation pulses, typically laser pulses, to induce radiation-emission of source electron pulses. The pulses are spatially separated into sub-pulses with integer electron numbers (n=1,2,3..), and a number state selector device selects specific electron number states to form the pulsed ...
Enhancement resonator including non-spherical mirrors
Ref.-Nr.: 1202-4590-WT
Sensoren, Geräte und Komponenten
An Enhancement Cavity (EC) with at least one toroidal and/or cylindrical mirror is described. This allows for an arbitrary beam ellipticity of the eigenmode. In particular at a stability edge, where the ellipticity diverges with purely spherical optics, a round beam can be obtained.
Weiterlesen … Enhancement resonator including non-spherical mirrors
Environmental Monitoring: Detection of Atmospheric Particulate Matter PM2.5
Ref.-Nr.: 1629-5711-WT
Sensoren, Geräte und Komponenten
The invention relates to a new and durable system, which brings the possibility of accurate size measuring and simultaneous counting of airborne particles with an aerodynamic diameter of up to 2.5 microns.
Measuring the particulate matter contamination in a gas in the range of PM2.5 is advantageous or crucial for various applications. Monitoring the concentration of the corresponding particles, for example in air, reveals information about pollution. The possibility of aerosol ...
Weiterlesen … Environmental Monitoring: Detection of Atmospheric Particulate Matter PM2.5
Fast Photodetector with Intrinsic Amplification: Avalanche Photodiode Array
Ref.-Nr.: 1201-5750-BC
Sensoren, Geräte und Komponenten
The invention relates to a new monolithic Avalanche Photodiode array with a novel inter pixel isolation structure. The technology allows the design of sensitive photodetectors with remarkable spatial resolution at very fast imaging capabilities for various applications.
Although Avalanche Photodiodes are a convenient tool due to their intrinsic amplification, their use in photodetectors with high pixel densities is challenging due to insufficient isolation of the pixels. Hence their use in ...
Weiterlesen … Fast Photodetector with Intrinsic Amplification: Avalanche Photodiode Array
Flash 2 – Real-Time Magnetic Resonance Imaging (MRI)
Ref.-Nr.: 0707-4198-BC
Bildgebung und Mikroskopie
Sensoren, Geräte und Komponenten
Magnetic resonance imaging (MRI) is nowadays a leading mo¬dality for diagnostic imaging with about 100 million examinations per year worldwide. However, when invented by Paul Christian Lauterbur in 1973, MRI was too slow to allow for routine medical applications. A breakthrough was achieved in 1985 by the FLASH (Fast Low Angle Shot) technique developed by Jens Frahm and his team at the Max-Planck-Institute for Biophysical Chemistry in Göttingen, Germany. With FLASH the measuring time for a cross-sectional ...
Weiterlesen … Flash 2 – Real-Time Magnetic Resonance Imaging (MRI)
FlipDroppy household dispenser for powders and granular food
Ref.-Nr.: 0109-6297-LI
Sensoren, Geräte und Komponenten
Accurate dispensing device for intuitive, spill free use
Weiterlesen … FlipDroppy household dispenser for powders and granular food
FlipDroppy laboratory dispenser for solid particles, powders, and beads
Ref.-Nr.: 0109-6297-LI
Sensoren, Geräte und Komponenten
An accurate dispensing device for powders and irregularly shaped particles
Weiterlesen … FlipDroppy laboratory dispenser for solid particles, powders, and beads
High resolution full material Fresnel Zone Plate array and process for its fabrication
Ref.-Nr.: 0104-5259-GÖ-IT
Bildgebung und Mikroskopie
Sensoren, Geräte und Komponenten
A full material Fresnel Zone Plate is a diffractive lens, composed of multilayers of at least two materials to act as the zones of the FZP. Researchers in Max Planck Institute for Intelligent Systems developed a production method in which alternating layers over focused ion beam (FIB) milled micro pillars are first deposited using atomic layer deposition (ALD) technique and then sliced by using the FIB again.
Weiterlesen … High resolution full material Fresnel Zone Plate array and process for its fabrication
High Spatial Resolution Imaging of a Structure of Interest in a Specimen
Ref.-Nr.: 0707-3657-3955-3966-BC
Sensoren, Geräte und Komponenten
This technical offer presents two advanced fluorescence microscopy technologies designed to surpass traditional optical resolution limits: Ground State Depletion Microscopy (GSDIM) and high spatial resolution imaging using non-switchable fluorescent dyes. GSDIM leverages ordinary fluorophores, switching them to metastable dark states to achieve high-resolution imaging without the need for photoactivation. The second technology enhances spatial resolution by utilizing the natural transitions of ...
Weiterlesen … High Spatial Resolution Imaging of a Structure of Interest in a Specimen
High-Efficiency Photodetector for Visible and Infrared Light
Ref.-Nr.: 1401-6116-WT
Sensoren, Geräte und Komponenten
A novel photodetector apparatus is presented, capable of detecting light in the visible and infrared spectrum with exceptional efficiency. The design integrates a waveguide and a detector section separated by a cladding layer, enabling gradual and low-loss optical power transfer. This structure allows for compact device dimensions, high sensitivity, and fast detection speeds. By optimizing the distance between the waveguide and the detector and utilizing materials such as silicon nitride and silicon, ...
Weiterlesen … High-Efficiency Photodetector for Visible and Infrared Light
High-Precision Rotation Holder for Optical Components
Ref.-Nr.: 1402-4973-WT
Sensoren, Geräte und Komponenten
Fusionstechnologie /-energie
The invention presents a high-precision rotation holder designed for optical components such as polarization filters. This innovative device features a rotor with an axial hollow shaft and an air-bearing system for frictionless rotation. Driven by an airflow turbine, the holder incorporates an angle encoder for precise measurement of the rotational position. Key applications include polarimetry in the terahertz spectrum, enabling advanced analysis of electromagnetic radiation. The invention ensures ...
Weiterlesen … High-Precision Rotation Holder for Optical Components
Hot-wire anemometer with high temporal resolution
Ref.-Nr.: 0705-6586-BC
Sensoren, Geräte und Komponenten
The Differential Temperature Anemometry (DTA) is a cutting-edge technique that enhances the temporal resolution of flow velocity measurements in thermal anemometry. By leveraging the in-stantaneous temperature gradient of the sensor, DTA provides rapid and continuous data without the need for thermal equilibrium. This innovation represents a significant leap forward, offering high-speed, accurate flow detection for dynamic applications.
Weiterlesen … Hot-wire anemometer with high temporal resolution
Hybrid Thin-Disk Amplifier
Ref.-Nr.: 1202-4510-WT
Sensoren, Geräte und Komponenten
Ultrafast amplifier systems providing high average powers (>10W) at repetition rates in the kHz regime suffer from severe accumulation of nonlinear phase inside the laser gain medium and other optical components within the amplifier. Implementation of chirped pulse amplification (CPA) constitutes a well-established method to reduce the peak intensity of the laser pulse during the amplification process [1, 2]. However, state of the art laser materials supporting high average output powers such ...
Improved Safety: Real-Time Monitoring of Thermal Power of a Nuclear Reactor
Ref.-Nr.: 0102-5836-WT
Sensoren, Geräte und Komponenten
The invention relates to a new and easy to use device for real-time monitoring of the thermal power of a nuclear reactor. It is based on the easy to access 16N decay rate in the cooling water. The robust and easy to implement method significantly improves the safety of nuclear facilities.
Nuclear reactors require high standards of safety and detailed information about changes are needed in order to control them in a safe manner. Besides detailed real-time simulations, direct ...
Weiterlesen … Improved Safety: Real-Time Monitoring of Thermal Power of a Nuclear Reactor
Insight: Haptic Sensor with Camera and Machine Learning
Ref.-Nr.: 0104-5981-GÖ
IT / Software / Bioinformatik
Sensoren, Geräte und Komponenten
Robots need detailed haptic sensing that covers their complex surfaces to learn effective behaviors in unstructured environments. However, state-of-the-art sensors tend to focus on improving precision and sensitivity, increasing texel density, or enlarging the sensed area rather than prioritizing system robustness and the usability of the sensed haptic information.
Weiterlesen … Insight: Haptic Sensor with Camera and Machine Learning
Integrated Beam-Steering Device for Visible and Infrared Light
Ref.-Nr.: 1401-6115-WT
Sensoren, Geräte und Komponenten
This invention provides a compact and integrated photonic device capable of steering light beams in free space without mechanical components. The device is particularly optimized for light in the visible and infrared spectrum, addressing a major limitation of conventional optical phased arrays (OPAs). Through the integration of a waveguide array, phase shifters, a slab propagation region, and a grating array, the system enables precise beam-steering while suppressing unwanted side lobes. This ...
Weiterlesen … Integrated Beam-Steering Device for Visible and Infrared Light
LABEL-FREE SEPARATION AND ANALYSIS OF MACROMOLECULES
Ref.-Nr.: 1629-4734-WT
Bildgebung und Mikroskopie
Sensoren, Geräte und Komponenten
Photonics
Weiterlesen … LABEL-FREE SEPARATION AND ANALYSIS OF MACROMOLECULES
Laser device with kerr effect based mode-locking and operation thereof
Ref.-Nr.: 1202-4422-WT
Sensoren, Geräte und Komponenten
A laser device (100), configured for generating laser pulses, has a laser resonator (10) with a gain disk medium (11) and a Kerr medium (12). The laser resonator (10) includes a first mode shaping section (13) which is adapted for shaping a circulating electric field coupled into the gain disk medium (11), and a second mode shaping section (14), which is adapted for shaping the circulating electric field coupled into the Kerr medium (12) independently of the electric field shaping in the first ...
Weiterlesen … Laser device with kerr effect based mode-locking and operation thereof
Low-power Scalable Multilayer Optoelectronic Neural Network Enabled with Incoherent Light
Ref.-Nr.: 0104-6464-GÖ-IT
IT / Software / Bioinformatik : (andere) Software
Sensoren, Geräte und Komponenten
Scientists from Max Planck Institute for Intelligent Systems developed a low-power opto-electronic computing device that is capable of implementing multiple layers of an artificial neural network which is scalable enough to accommodate operation speeds required by modern artificial neural networks.
Magnetically Coupled Worm Gear using stationary (here permanent) Magnets
Ref.-Nr.: 0207-6160-WT
Sensoren, Geräte und Komponenten
The invention relates to a new method of using magnetic forces in order to mechanically couple the worm of a worm gear with its corresponding worm wheel. According to the invented arrangement, a (permanent) magnet, i.e., a relatively hard magnetic material, magnetizes the worm, which is made from a relatively soft magnetic material. Thus, the magnetized worm develops attraction forces concerning the (also magnetically soft) tooth system of the worm wheel. In this way, it is sufficient to use comparably ...
Weiterlesen … Magnetically Coupled Worm Gear using stationary (here permanent) Magnets
Method and apparatus for optical frequency comb generation using a monolithic micro-resonator
Ref.-Nr.: 1202-3760-WT
Sensoren, Geräte und Komponenten
The invention relates to a monolithic optical frequency comb generator. Furthermore, the invention relates to a method of generating an optical frequency comb.
Method and Device for Characterizing a Resonator Element
Ref.-Nr.: 1629-6437-WT
Sensoren, Geräte und Komponenten
This disclosure presents a method and device for precisely measuring the frequency of a scanning diode laser. Applications include LIDAR, gas sensing and spectroscopy of integrated photonic devices like microresonators. The method involves a tunable laser, modulated at two distinct frequencies to generate side band resonances while it is being scanned across a reference cavity (e.g. a fiber loop resonator). This setup enables precise and instantaneous measurement of the optical frequency and tuning ...
Weiterlesen … Method and Device for Characterizing a Resonator Element
Method and radiation source for generating pulsed coherent radiation
Ref.-Nr.: 1302-3482-WT
Sensoren, Geräte und Komponenten
The present invention relates to a method of generating pulsed coherent radiation in the UV and XUV wavelength ranges. Furthermore, the present invention relates to a radiation source for generating pulsed coherent radiation based on a high harmonic generation (HHG).
Weiterlesen … Method and radiation source for generating pulsed coherent radiation
METHOD FOR PRODUCING RANDOM NUMBERS ON THE BASIS OF QUANTUM NOISE
Ref.-Nr.: 1629-5565-WT
Sensoren, Geräte und Komponenten
Photonics
The invention relates to a new method for an improved production of random numbers and verification of their randomness. In order to do so, it uses the quantum mechanical properties of microscopic particles and structures. A number sequence is generated by means of a repetitive quantum mechanical random process. The measurement of this process is performed by a homodyndetection of an optical input signal, where the signal interferes with a local oscillator, e.g. a laser, at a central beam splitter ...
Weiterlesen … METHOD FOR PRODUCING RANDOM NUMBERS ON THE BASIS OF QUANTUM NOISE
METHOD OF GENERATING LASER PULSES USING THE TEMPORAL TALBOT EFFECT
Ref.-Nr.: 1202-5266-WT
Sensoren, Geräte und Komponenten
Photonics
Weiterlesen … METHOD OF GENERATING LASER PULSES USING THE TEMPORAL TALBOT EFFECT
Modular Large-Area Low-Light Detectors with Hybrid SiPM Architecture for Scalable and Adaptive Photon Detection
Ref.-Nr.: 0206-5874-BC
Sensoren, Geräte und Komponenten : Sensoren
This invention presents a modular and scalable system for low light level detection using hybrid silicon photomultiplier (SiPM) base cells. Each base cell comprises three vertically stacked layers: a detector (e.g., single-photon avalanche diodes (SPAD)), a first-level read-out (e.g., complementary metal-oxide semiconductor (CMOS)), and a second-level back-end interface (BE). These base cells are interconnected laterally to form large-area detector arrays, which can reach sizes up to square meters. ...
Multifunctional RFID-based Platform for Animal Observation and Manipulation
Ref.-Nr.: 0214-5247-MG und 0214-5440-MG
IT / Software / Bioinformatik : (andere) Software
Sensoren, Geräte und Komponenten : Sensoren
Sensoren, Geräte und Komponenten : Geräte
Sensoren, Geräte und Komponenten : Komponenten
An efficient system to monitor and control animal behavior in wildlife as well as in laboratory settings
Weiterlesen … Multifunctional RFID-based Platform for Animal Observation and Manipulation
Nanocapsule suitable for non-invasive simultaneous oxygen content and temperature sensing in a living object
Ref.-Nr.: 0903-4972-LC-WA
Analytik
Sensoren, Geräte und Komponenten
Simultaneous sensing of oxygen content and temperature within a living object is crucial to monitor its biochemical reactions and to evaluate its health condition. Non-invasive sensors used for this purpose feature optical read-out. These sensors detect changes in phosphorescence (decay time or emission intensity) of a phosphorescent compound and the delayed fluorescence intensity of a fluorescent compound induced by an increase of temperature and/or oxygen. Unfortunately, the temperature and ...
Non-collinear Spin Valve for Multi-State Memory and Neuromorphic Devices
Ref.-Nr.: 1201-5998-BC
Sensoren, Geräte und Komponenten
This invention introduces a non-collinear spin valve (NC-SV) architecture capable of storing and reading arbitrary angles between magnetization vectors of two ferromagnetic layers. Unlike conventional spin valves that exhibit binary resistance states corresponding to parallel or antiparallel magnetization alignments, the NC-SV enables multiple stable configurations, allowing for analog or multi-level operation. By utilizing layers with different magnetic anisotropies and a temperature-dependent ...
Weiterlesen … Non-collinear Spin Valve for Multi-State Memory and Neuromorphic Devices
OPTICAL RESONATOR WITH GEOMETRICAL ACCESS TO THE OPTICAL AXIS
Ref.-Nr.: 1202-4309-WT
Sensoren, Geräte und Komponenten
Photonics
Weiterlesen … OPTICAL RESONATOR WITH GEOMETRICAL ACCESS TO THE OPTICAL AXIS
Optimization of Multi-Channel Coil for Magnetic Resonance Imaging
Ref.-Nr.: 1302-4127-BC
Sensoren, Geräte und Komponenten
Magnetic resonance imaging (MRI) requires optimal radio-frequency (RF) coil performance that ensures the highest RF magnetic field per unit power delivered to the coil, while maintaining the highest achievable RF field homogeneity. For MRI at high magnetic field level, it is important to use a multi-channel transmit coil for producing the desired RF field. However, it is impossible to design a multi-channel coil without considerable coupling between its coil elements. The major challenge in multi-channel ...
Weiterlesen … Optimization of Multi-Channel Coil for Magnetic Resonance Imaging
Parallel-imaging time-of-flight momentum microscope
Ref.-Nr.: 1401-4572-WT
Bildgebung und Mikroskopie
Sensoren, Geräte und Komponenten : Geräte
The state of an electron is completely defined by its momentum and spin. In processes like electron diffraction or photoemission electron ensembles are generated which have a characteristic 3D distribution of momentum and spin. To examine such events the three components of the momentum vector have to be measured. Up to now, the momentum distribution of an ensemble of charged particles was typically measured using energy-dispersive spectrometers based on sequential approaches (sequentially changing ...
Weiterlesen … Parallel-imaging time-of-flight momentum microscope
Photonic Integrated Circuit for Dual-Axis Beam Steering in AR and LiDAR Applications
Ref.-Nr.: 1401-6618-WT
Sensoren, Geräte und Komponenten
This invention discloses a photonic integrated circuit (PIC) designed to emit low-divergence, steerable light beams, suitable for integration into compact optical systems such as augmented reality (AR) glasses and LiDAR devices. The PIC integrates arrays of lasers, waveguides, and diffraction gratings on a movable platform that can tilt in two axes, allowing for precise two-dimensional beam steering. Multiple red, green, and blue (RGB) or infrared (IR) beams can be emitted and scanned across a ...
Weiterlesen … Photonic Integrated Circuit for Dual-Axis Beam Steering in AR and LiDAR Applications
Photonic Integrated Multi-Beam Light Engine for Augmented Reality Displays and LiDAR Systems
Ref.-Nr.: 1401-6617-WT
Sensoren, Geräte und Komponenten
This invention introduces a compact, high-performance light engine based on visible-light photonic integrated circuits (PICs), designed for augmented reality (AR) glasses and LiDAR systems. The technology integrates RGB and near-infrared (NIR) lasers on a chip, guiding light through waveguides to emit highly controlled beams via edge couplers. These beams are then collimated and scanned using microelectromechanical mirrors (MEMS) in a double-pass configuration. This chip-scale approach enables ...
Processing Magnetic Resonance Data via Machine Learning-Enhanced Non-Linear Regression
Ref.-Nr.: 0107-5583-BC
Bildgebung und Mikroskopie
Sensoren, Geräte und Komponenten
This invention describes an advanced method and apparatus for processing magnetic resonance (MR) data, integrating machine learning to address key challenges in MR imaging analysis. The process involves collecting MR data, applying a machine learning model to estimate initial parameters, and refining these through regression to generate precise parameter maps (e.g., T1/T2 relaxation times, CEST metrics). This technology enhances the speed, accuracy, and reliability of diagnostic imaging applications, ...
Weiterlesen … Processing Magnetic Resonance Data via Machine Learning-Enhanced Non-Linear Regression
Reducing phase singularities in speckle interferometry
Ref.-Nr.: 1629-5142-WT
Sensoren, Geräte und Komponenten : Geräte
Speckle interferometry is an established metrology technique for the characterization of rough objects. Deformations of rough objects under a load can be determined, as well as – with the help of an additional second wavelength – the surface shape of the object under test. As an illustration, Figure 1 (left) shows the so called raw phase as a result of a deformation measurement on a metal plate. The shape and the density of the fringes indicate the response of the metal plate to the load.
Owing ...
Weiterlesen … Reducing phase singularities in speckle interferometry
Safety apparatus and method for monitoring a light path of a laser beam, and applications of same
Ref.-Nr.: 1801-6105-WT
Sensoren, Geräte und Komponenten
Fusionstechnologie /-energie
The invention enables a fast and effective safety for persons (or obstacles) being in danger of hitting the beam of powerful lasers like YAG lasers. While being extremely powerful, the YAG laser light is invisible to the human eye. The safety mechanism is based on a harmless, visible laser light, i.e., cylindrically surrounding the YAG beam a shutter mechanism (i.e., with an entrance of cylindrical symmetry and made of synthetic material). The safety laser light is controlled by a ring (or sector) ...
Sensor Support for a Beehive Panel
Ref.-Nr.: 0903-6556-LC
Sensoren, Geräte und Komponenten
This advanced beehive panel system revolutionizes hive management with precise, real-time control of the 3-dimensional temperature distribution inside the honey bee colony. The technology developed makes it possible to maintain and restore the optimal thermal homeostasis in the hive after and during the action of external stressors, strongly supporting the optimal relative density of the bee population. The sensing system is minimally invasive, promotes colony health and productivity, while preserving ...
Shape from Release: Inverse Design and Fabrication of Controlled Release Structures
Ref.-Nr.: 1200-6557-GÖ
IT / Software / Bioinformatik
Sensoren, Geräte und Komponenten
Objects with different shapes can dissolve in significantly different ways inside a solution. Predicting different shapes’ dissolution dynamics is an important problem especially in pharmaceutics. More important and challenging, however, is controlling the dissolution via shape, i.e., designing shapes that lead to a desired release behavior of materials in a solvent over a specific time. Here, we tackle this challenge by introducing a computational inverse design pipeline.
Weiterlesen … Shape from Release: Inverse Design and Fabrication of Controlled Release Structures
Single Photon Detection: Advanced DePFET with High Amplification
Ref.-Nr.: 1201-5766-BC
Sensoren, Geräte und Komponenten
The invention relates to a new and improved concept for Depleted p-channel Field Effect Transistors (DePFET) detectors that provides a significantly higher intrinsic amplification. By the extension of the transistor layout, former limitations were overcome.
DePFETs are insufficient for many applications in terms of the achievable intrinsic amplification. This is since shorter transistor channels needed for high amplification would increase the detector noise caused by impact ionization events.
Additional ...
Weiterlesen … Single Photon Detection: Advanced DePFET with High Amplification
SNOM: New Sensitive Detection Method for Small Periodic Signals
Ref.-Nr.: 0302-6225-BC
Sensoren, Geräte und Komponenten
The invention relates to a new detection method for small periodic signals in Scanning Near Field Optical Microscopy (s-SNOM). Solving the problem of the rapid sampling rates necessary for lock-in amplification, the method is a powerful new readout system for various other applications as well.
Lock-in detection is a widespread technique, which enables the detection of very small periodic signals. However, it imposes constraints between the lock-in modulation frequency and the sampling ...
Weiterlesen … SNOM: New Sensitive Detection Method for Small Periodic Signals
Soft Capsule Endoscope - "B-MASCE"
Ref.-Nr.: 0104-5410-BC
Sensoren, Geräte und Komponenten
Im Zuge der stetigen Weiterentwicklung und Nachfrage auf dem Gebiet der minimal invasiven Chirugie wurde am Max-Planck-Institut für intelligente Systeme in Stuttgart im Team von Herrn Prof Sitti für patientenfreundliche Magen-Darm-Untersuchungen ein kabelloses kapselförmiges Endoskop in Pillengröße, das sogenannte "B-MASCE" entwickelt. Die aus einem Elastomer bestehende Kapsel dient hierbei sowohl als Gehäuse als auch als Federelement für die Nadel. Über in der Kapsel eingebaute Magnete ...
Surface Potential and Zeta Potential Measurement via Sliding Drop Electrification
Ref.-Nr.: 0903-6670-LC
Analytik
Sensoren, Geräte und Komponenten : Geräte
This innovative technology provides a precise apparatus and method to measure surface potential and related physicochemical properties of solid samples. By leveraging the electrical effects of sliding liquid drops on a hydrophobic surface (Fig. 1), the system calculates the surface potential and zeta potential at solid-liquid interfaces. A controlled drop sliding path combined with advanced electrode measurements (Fig. 2) enables accurate and cost-effective characterization of surface properties. ...
Weiterlesen … Surface Potential and Zeta Potential Measurement via Sliding Drop Electrification
Touchless Positioning Interface: The Precise Nanosheet Moisture Sensor
Ref.-Nr.: 1201-4882-BC
Sensoren, Geräte und Komponenten : Sensoren
This innovative nanosheet-based sensor offers remarkably high sensitivity and rapid response times, making it ideal for advanced touchless positioning interfaces (TPI) and environmental monitoring. By utilizing 2D nanosheet materials, the sensor achieves sub-centimeter spatial resolution and can detect gases and humidity with remarkable accuracy. It is based on a nanosheet of active material (H3Sb3P2O14) that changes its electrical or optical properties ...
Weiterlesen … Touchless Positioning Interface: The Precise Nanosheet Moisture Sensor
Ultracompact medical ventilation system
Ref.-Nr.: 0901-6012-WT
Medizin
Sensoren, Geräte und Komponenten
The invention relates to a new, ultracompact non-invasive medical ventilation system. The BIPAP (Biphasic Positive Airway Pressure) ventilation unit, of size and weight of a tennis ball, is easy to handle and allows low-budget mass production. It can be powered by a rechargeable battery-pack – a great advantage in case of mobile use or damaged/unstable infrastructure leading to frequent blackouts. These benefits, ...
Ultrafast Low-Energy Electron Microscopy for Surface Structural Dynamics
Ref.-Nr.: 0707-6350-BC
Sensoren, Geräte und Komponenten
This invention presents an advanced ultrafast low-energy electron microscopy (ULEEM) system designed to probe structural dynamics at surfaces with high temporal and spatial resolution. The innovation integrates a miniaturized electron source with a pump-probe laser excitation scheme, allowing for example femtosecond-resolved real-space imaging of surface phenomena. Unlike existing diffraction-based methods, this approach provides direct surface sensitivity and spatially resolved structural dynamics. ...
Weiterlesen … Ultrafast Low-Energy Electron Microscopy for Surface Structural Dynamics
Water content sensor for biological soil crusts
Ref.-No.: 0901-4720-WT
Sensoren, Geräte und Komponenten
In arid and semiarid regions biological soil crusts (BSC) cover about 1/3 of the soil surface. As far as it is known, these BSC (consisting of cyanobacteria, algae, fungi, bryophytes, and other bacteria living in contact with soil particles) are crucial for the global terrestrial carbon and nitrogen cycle. The water status plays a major role, since their water content directly controls the activity of these poikilohydric organisms.
Weiterlesen … Water content sensor for biological soil crusts
